Veelgestelde vragen - Kunststof kozijnen - Profiel - Vlak profiel (creon)
We hebben een aantal zaken voor je op een rij gezet.
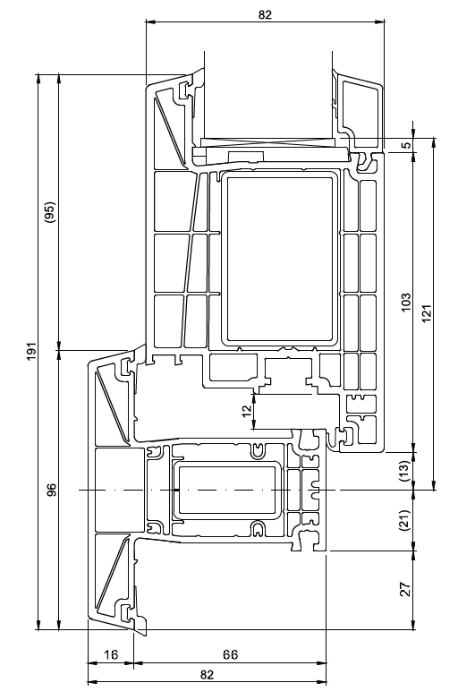
Download hieronder de technische / details tekening van het creon vlak profiel:
Technische details Creon vlak profiel
Met aanslag:
Draai/kiep of kiep kozijn
Naar binnen draaiende deuren
Naar buiten draaiende deuren
Zonder aanslag:
Draai/kiep of kiep kozijn
Naar binnen draaiende deuren
Naar buiten draaiende deuren

Het Creon vlak profiel is een goede keuze voor heden en toekomst. Dit profiel voldoet aan de hoogste isolatienormen van dit moment voor nieuwbouw. Daarnaast is dit profiel ook toepasbaar bij renovatie van bestaande woningen.
Details:
Het profiel is beschikbaar in de kleuren wit en crème wit. Daarnaast kunnen de ramen voorzien worden van een houtnerf folie waardoor het raam een houten uiterlijk krijgt. Dit profiel is alleen produceerbaar met een schuine las verbinding.
De diepte van dit profiel is 73 mm en is voorzien van twee rubberen afdichtingen t.b.v. de isolatie. De aanslag van dit profiel is 22 mm.
Heeft u nog vragen?
Neem contact op!